廣東中專升學網為廣東初中升學考試民間信息交流平臺,本站主要為廣東中考生提供中專、中職、技校的擇校、報考指導服務,權威信息請以廣東省教育考試院和各中職招生院校官方信息為準。
廣東中專升學網為廣東初中升學考試民間信息交流平臺,本站主要為廣東中考生提供中專、中職、技校的擇校、報考指導服務,權威信息請以廣東省教育考試院和各中職招生院校官方信息為準。
廣東中專招生網為大家整理了廣東中職中專技校及廣東中考的有關資訊:近年來,廣東中職教育體系日漸完善,中職升學渠道逐步拓寬,本篇文章為廣大有志學子詳細介紹了廣東中專畢業證查詢、補辦、開具學歷證明步驟的信息,希望對大家順利報名、入學有所幫助!

廣東3+證書考試(高職高考)在考試在11月報名,次年1月考試,中職三年級學生可直接在學校內報考,如果學校不組織報考,也可自行到教育局完成高考報名。
報名的時候需要提供學校蓋公章的“學籍證明”或“在讀證明”、身份證、戶口本、技能證書等資料即可報名,不過無畢業證的考生,無法進行大學報到和注冊!!

廣東省中職生畢業證原件遺失、畢業真實性證驗證等,可通過“開具學歷證明”服務申請紙質版中職學歷證明書,學歷證明書和畢業證書具有同等效力。
申請方法
網上申請方法
1.在電腦瀏覽器上打開“廣東政務服務網”(www.gdzwfw.gov.cn);
2.搜索“出具中等職業學校畢業生學歷證明書”,進入申請人求學時學校所在地市網絡入口,選擇學校所在城市(部分城市未開通線上辦理服務),選擇在線辦理,根據網頁提示上傳申請和本人身份證等資料,平臺確認資料符合要求,則可轉到相關地市教育局,經查核后,出具申請人中專學歷證明。
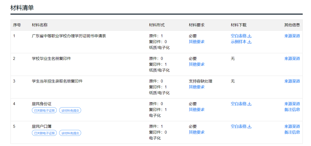
3.核對需上傳的材料,按要求進行辦理,上傳后等待申請結果。
一、在首頁搜索框輸入“出具中等職業學校畢業生學歷證明書”

二、選擇搜索結果

三、選擇學校所在城市(部分城市未開通線上辦理服務)

四、選擇在線辦理

五、核對需上傳的材料,按要求進行辦理,上傳后等待申請結果。

六、辦理完結后下發證明書
以上就是有關廣東中專畢業證查詢、補辦、開具學歷證明步驟的信息,僅供參考,最終招生情況請以報考當年實際招生情況為準。更多廣東中職中專技工招生信息、廣東中考資訊,敬請關注廣東中專招生網,也可以點擊加入微信群獲取專業老師指導>>
本文標題:中專畢業證丟失?廣東中專畢業證查詢、補辦、開具學歷證明步驟詳解來了!@中考生,快來測一測適合報考的學校吧!
根據模考/估分情況,測算錄取概率,提供針對性的升學方案...我是:
考生情況:
填寫信息,獲取結果:
免責聲明
掃一掃添加企業微信
與廣東中專升學專業老師, 一對一咨詢,在線實時為你解答疑問!